|
التصنيع
|
هيما
|
|
نموذج
|
F 7130A
|
| رقم القطعة |
984713060
|
|
الكتالوج
|
هاي ماكس
|
|
وصف
|
وحدة تزويد الطاقة
|
|
أصل
|
ألمانيا
|
|
رمز النظام المنسق
|
85389091
|
|
الأبعاد
|
31*3*23 (سم)
|
|
وزن
|
0.8 كجم
|
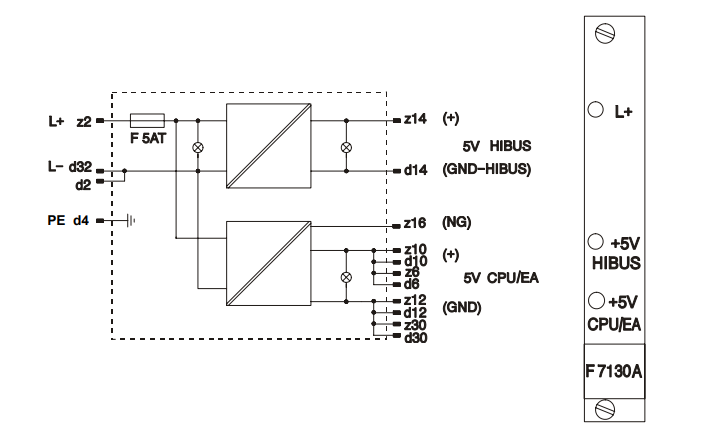
يُزوّد جهاز F 7130A وحدة PES H41q بجهد 5 فولت تيار مستمر من مصدر طاقة رئيسي بجهد 24 فولت تيار مستمر. وهو عبارة عن مُحوّل تيار مستمر/تيار مستمر مع عزل كهربائي بين جهد الدخل وجهد الخرج. الوحدة مُجهزة بحماية من الجهد الزائد وتحديد التيار. مخارجها مقاومة للدارة القصيرة. توصيلات التغذية منفصلة للجهاز المركزي/وحدات الإدخال/الإخراج وواجهة HIBUS.
يُشار إلى جهد الدخل الحالي (L+) وجهود الخرج بواسطة مصابيح LED على اللوحة الأمامية. ويضمن التشغيل السليم للوحدة حتى لو أضاء مصباح LED 5 V CPU/EA بشكل خافت.
يتم تغذية مصدر الطاقة لمراقبة الجهاز المركزي بشكل منفصل عبر الدبوس z16 (NG).
لا يلزم توصيل مصدر الطاقة 5 فولت تيار مستمر بشكل منفصل لأنه مثبت بالفعل كجزء من الرف الفرعي.
يحتاج المعالج المركزي، ووحدات التحكم في المنافذ، ووحدات الإدخال/الإخراج إلى طاقة تيار مستمر 5 فولت. يتم توليد هذه الطاقة بواسطة وحدات تزويد طاقة تعمل بتردد 24 فولت تيار مستمر/5 فولت تيار مستمر، تحمل علامة F 7130A. يحتوي الرف الفرعي على وحدتي تزويد طاقة موصولتين على التوازي. في حال تعطل إحداهما، تقوم الأخرى بتزويد وحدة تزويد الطاقة بالطاقة.
تتم مراقبة جهد خرج التيار المستمر 5 فولت لوحدات تزويد الطاقة (لوحدة المعالجة المركزية، ووحدات الإدخال/الإخراج، والواجهات) على الوحدة المركزية للتحقق من انخفاض الجهد والفشل.
في حالة وجود عطل في وحدة تزويد الطاقة، يقوم نظام التشغيل بتزويد برنامج المستخدم بهذه المعلومات عبر متغير النظام.
في حالة انقطاع التيار الكهربائي عن نظام 5 فولت تيار مستمر، يتم تخزين ساعة الأجهزة وذاكرة الوصول العشوائي الثابتة (sRAM) الموجودة على الوحدة المركزية بواسطة بطارية ليثيوم موجودة أيضًا على الوحدة المركزية.
تحديد:
بيانات التشغيل
24 فولت تيار مستمر، -15...+20%، rpp < 15%
الصمام الأساسي
5 أ جم
مخرجات لـ
الجهاز المركزي/وحدات الإدخال/الإخراج
5 فولت تيار مستمر، ± 0.25 فولت / 10 أمبير
هيبوس
5 فولت تيار مستمر،
± 0.25 فولت / 1 أمبير
معدل الكفاءة
≥ 70%
متطلبات المساحة
4 SU
سمات:
- موثوقية عالية
تم اختبارها والتحقق منها بدقة، مما يضمن الاستقرار والموثوقية في البيئات القاسية.
- حماية
بفضل احتوائه على العديد من ميزات الأمان، فإنه يوفر مستوى عالٍ من أمان النظام.
- المرونة
تتيح إمكانيات التكوين والتوسيع المرنة إمكانية التخصيص والتكامل بناءً على احتياجات العملاء.
- أداء عالي
يستخدم معالجات وخوارزميات متطورة لمعالجة البيانات والتحكم بها بسرعة وكفاءة.
رابط ورقة البيانات:
دليل وحدة الاتصال X-COM 01 HIMA 985260000 HIMax (ملف PDF) - ورقة البيانات



















